
设计一个5.4m的盾构管片
设计一个5.4m的盾构管片
深圳八叉树科技有限公司 2026-01-27
输入参数
启动八叉树盾构管片设计软件:
管片环尺寸
外径 R1=2700,内径 R2=2400,这样环厚度=2700-2400=300。
取 H1 = 1521,H2 = 1479。
环缝设置
准备一个环缝条纹的 dwg 图,然后导入。
图中的“300”的尺寸标注是不一定要的,我为了看得清楚,就标了一下。左边和右边各为一条多段线,注意必须是多段线,不能是分散的直线。画在什么图层、用什么颜色,都没有关系。
点击“导入环缝端面条纹dwg文件”按钮,将环缝条纹的 dwg 图文件导入。
导入完毕后,点击“整体标注”,看一下尺寸对不对。
管片分块
设置3个标准块,如下图:
纵缝设置
纵缝图的设计图是这样的:
给软件准备一个这样的纵缝切割平面图形:
每个纵缝切割平面图形都必须是一个封闭的多段线,放在一个图层里,这个图层的名称前面有个减号“-”,表示这个图形要对三维模型进行实体相减的操作,也就是挖个槽。
每个纵缝切割平面图形的图层中还要画一条水平的直线段,代表这个图形的中心Y坐标。在切割三维实体时,整个图形按此Y坐标为三维扫掠的中心线进行切割挖槽的操作。
螺栓及预埋件设置
本项目使用弯螺栓连接。
纵向弯螺栓
首先添加纵向弯螺栓:
点击“添加”按钮后,进入“添加纵向弯螺栓”界面:
修改一下:
点击“弯螺栓连接管理”,把弯螺栓连接设置一下:
环向弯螺栓
添加环向弯螺栓:
添加一种弯螺栓连接的类型:
然后布置环向弯螺栓,现在距离管片环的中心平面-500mm处布置一圈:
再在距离管片环的中心平面+500mm处布置一圈:
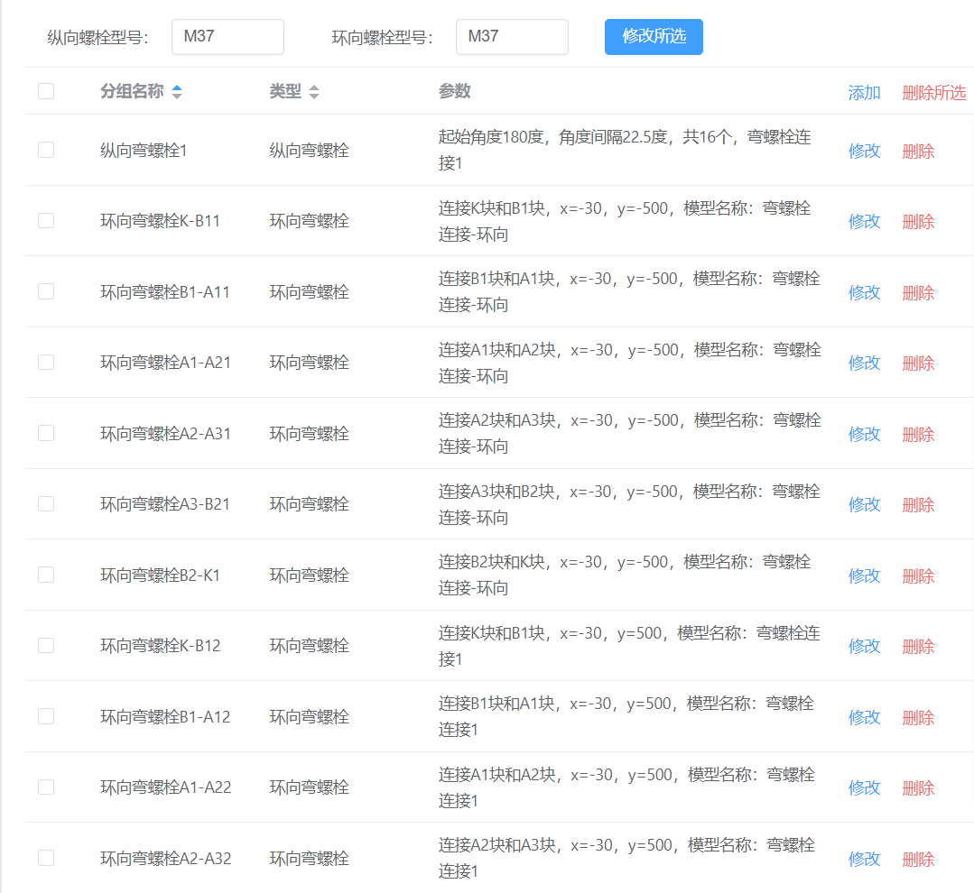
布置完毕后的列表如下图:
结构出图
把除了点状凹凸榫的图全部都勾上,然后点击“生成”按钮:
检查三维模型
图纸生成后,建议先检查一下三维模型,看是否正确。
一开始的时候,三维模型图是这样的:
切换成三维视角:
输入 vs 命令,选 “x”,进入X射线模式,可以清楚地看到三维的螺栓孔:
注意查看螺栓孔相交的情况,如果不满足要求,则调整纵向、环向螺栓的布置,然后再次生成三维模型查看:
管片块是分图层绘制的,可以开关图层,查看特定的管片块:
检查环缝、纵缝的贯穿情况。可以在 vs 命令中,选“c”选项,更便于观察:
还可以使用 AutoCAD 的“动态观察”功能,将中心点卡在环、纵缝的交界上,三维动态观察,更清楚地看到环、纵缝的贯通情况。
演示:三维动态观察环、纵缝的贯通情况
本期文章先写到这里,后续会进行更深入的介绍。
